电子绞边器的绞边原理和类型
欢迎光临~昆山市英杰纺织品进出口有限公司
  咨询电话:0512-55230820

BTY

电子绞边器的绞边原理和类型

一、电子绞边器的绞边原理
    电子绞边器无论怎样分,其绞边原理是一样的,区别只在于绞边综的驱动方式。
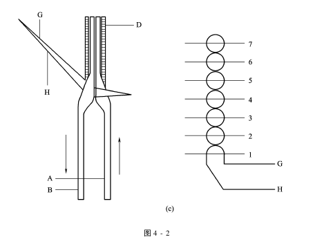
    1.纺纱线的穿法
    综丝纱“G”:这根纱穿过综丝“A”和“B”之间的骑马综“D”上的孔眼;绞纱“H”这根纱以针纱同样的方法穿在两根综丝之间。
    2.绞边综的休闲
    绞边综的休闲分为4个阶段:
    阶段1:在开口的时刻,综丝纱“G”处于绞纱“H”的上面[图4-2(a)]
    阶段2:综丝“B”被向上推,而综丝“A”和“D”一起被向下拉[图4-2(b)]。
    阶段3:综丝“A”、“B”交叉时,绞纱“H”处于综丝纱“G”的下面[图4-2(c)]。
    阶段4:综丝“B”和骑马综“D”一起被向下拉,而综丝“A”被向上推[图4-2(d)]。
    二、电子绞边器的类型
    根据使用织机类型的不同,电子绞边器分为:剑杆织机用电子绞边器;喷气织机用电子绞边器,喷水织机用电子绞边器。每一种电子绞边器又有各种型号和规格,可根据需要选用。
    

AAAFGHTYHCGER


免责声明:

免责声明:本站发布的有些文章部分文字、图片、音频、视频来源于互联网,并不代表本网站观点,其版权归原作者所有。如果您发现本网转载信息侵害了您的权益,如有侵权,请联系我们,我们会尽快更改或删除。

用手机扫描二维码关闭
二维码