练漂机——高温高压练漂机
欢迎光临~昆山市英杰纺织品进出口有限公司
  咨询电话:0512-55230820

BTY

练漂机——高温高压练漂机

    常压饱和蒸汽汽蒸具有在短时间内使织物迅速升温,保持肯定水分的特点。但其温度只能达到100~103℃,不能满足高温整理的要求。然而,在封闭系统内,饱和蒸汽的温度却可随其压强的增加而上升,系统内液体沸点温度也随之升高,此即高温高压练漂设备具有高温性能的基本原理。


    高温高压汽蒸可以缩短升温时间,提高汽蒸速度。而且,由于蒸汽压力和温度的提高,提高了汽蒸的渗透速率。若保持肯定的汽蒸时间,则容布量就可增加,汽蒸质量也得到提高。
    产生高温高压饱和蒸汽的首要条件是能承受肯定压力的封闭系统的存在。因此,系统的密封性是高温高压汽蒸设备的关键。它既要保证织物能连续地进出高压汽蒸箱,又要耐磨,具有肯定的寿命。如果是间歇生产,则可用静密封来解决,一般用螺栓把箱盖和箱体及填在它们之间的橡胶垫片压紧即可,如高压煮练锅。对于连续生产的高温高压汽蒸的密封,一般有唇式和辊式两种。简单的唇式密封口,是用两片四氟乙烯制成的唇式夹片,用它压触运行织物,形成密封。由于夹片和织物间的摩擦严峻,对有色织物易产生条花。在唇封上若积有污物,则将沾污织物。因此,一般不适用于高压上色和印花后织物的汽蒸。图6-23是一种常用的唇式汽封口。上唇由不锈钢制成,下唇为外包聚四氟乙烯薄膜的橡胶充气袋,袋内气压为68.6kPa,使下唇紧贴上唇,织物在其间通过,蒸汽不易外泄。


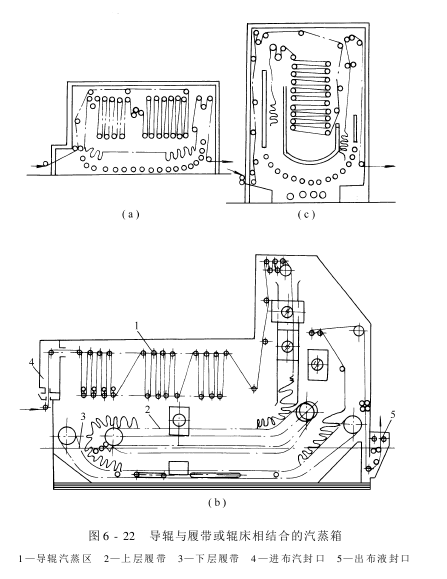
    图6-24所示为唇封式高温高压汽蒸箱。织物经唇封口进入卧式圆筒形汽蒸箱后,堆置在主动回转的不锈钢辊组成的辊床(伞柄)上,在高压(196kPa)蒸汽中汽蒸1~4min,导出洗净。它的唇封口结构见图6-25,进机织物和出机织物分别从固定安装的中心支架的两个完滑表面滑过,管形气袋内充入压缩空气后,通过外包聚四氟乙烯唇板,将织物压向中心支架表面,形成密封。
    图6-26所示为一种辊式封口。其密封由面封和端封组成。面封是利用高压汽蒸箱内的蒸汽压力使聚四氟乙烯密封条压向辊面形成的,其辊间轧点压强则另有加压装置产生,以和蒸箱内压力平衡。端封则用支架螺钉把聚四氟乙烯端封片分别压在各辊的左右端面上,以达到密封。
    辊式密封对织物的摩擦较小,主要用于上色和印花后汽蒸等连续高温高压汽蒸设备上。但是,这种密封目前仍存在一些问题,如和织物接触的辊面部分受压磨损的变形问题,更换染料后的清洗问题等,还有待改进。

 

AAAGFREGRTTHR


免责声明:

免责声明:本站发布的有些文章部分文字、图片、音频、视频来源于互联网,并不代表本网站观点,其版权归原作者所有。如果您发现本网转载信息侵害了您的权益,如有侵权,请联系我们,我们会尽快更改或删除。

用手机扫描二维码关闭
二维码